Gaasivarustuseta külas asuva kodu, maakodu või suvila kütmiseks sobib veeringiga kaminahi. Seade töötab tahkel kütusel ja tagab ruumi paralleelse soojendamise ja jahutusvedeliku torudes. Vett saab kasutada soojusallikana ja majapidamistarbeks. Enne seadmete paigaldamist peate otsustama tootmismaterjali üle ja mõistma ühendustehnoloogiat.
- Veekontuuriga kaminahjude peamised tüübid
- Terasest mudelid
- Malmist kaminad
- Kombineeritud mudelid
- Kassettkaminad
- Nurga tüüpi vesikaminad
- Veepliitide-kaminate plussid ja miinused
- Valikuvõimalused, ise paigaldamine ja kasutamine
- DIY paigaldus
- Tegevusreeglid
- Küttesüsteemiga ühendamise omadused
- Loomulik ringluse tüüp
- Sunniviisilise tsirkulatsiooni tüüp
- Ülevaade populaarsetest veeahelaga kaminahjudest
Veekontuuriga kaminahjude peamised tüübid

Ahi valitakse maja projekteerimisetapis. See võimaldab teil struktuuri teiste objektidega korreleerida ja peita selle sidumine. Küttesõlmede paigaldamisel pärast ehitamist arvestage nende sortidega.
Terasest mudelid
Need on taskukohased ja hõlpsasti kasutatavad. Soojusvaheti on valmistatud kuumakindlast metallist paksusega 3-5 mm ja sellel pole õmblusi.Välisvooderduseks kasutatakse šamotti, keraamikat ja malmlehti. Suitsupüüdur, leegijaotur ja tulekambri deflektor on valmistatud terasest või malmist. Rest on eranditult malmist.
Materjali paindlikkuse tõttu võib struktuur olla mis tahes kujuga. Šamott või keraamiline vooder pikendab ahju kasutusiga.
Terasosad on korrosioonile alluvad, seetõttu tuleb ahju kütta režiimil, kus kondensaat tekib minimaalselt.
Malmist kaminad

Malmkaminad on võimalik ühendada ühise radiaatorisüsteemiga ja tagada igas suuruses maja efektiivse kütmise. Seade sisaldab järgmisi elemente:
- spiraaliga varustatud soojusvaheti - kasutatakse veeringluseks;
- küttekontuur - sellega on ühendatud spiraal;
- ahel, mis koosneb radiaatoritest, paisupaakidest, torudest koos liitmikega ja pumbast;
- avatud või suletud kamin;
- rest - vajalik õhumasside ventileerimiseks ja põlemisproduktide eemaldamiseks;
- väljatõmmatava kandikuga tuhapann - puhastamise ajal kukub tuhk sellele;
- suitsukollektoriga korsten kinnitamiseks.
Malmpliit ei põleta ruumis hapnikku, on suure soojusmahutavusega ja ei jahtu pika aja jooksul. Kõrge temperatuuriga kokkupuutel materjal ei pragune ega deformeeru.
Kombineeritud mudelid

Kaua põlevad kaminad sobivad, kui teil on mitmetoaline maja või maamaja. Kombineeritud modifikatsioonid tehakse teraskorpuse ja malmist osadega, mis puutuvad kokku tulega. Enamasti on see kamin ja pliit.Roostevabast terasest korpus takistab malmi pragunemist temperatuurimuutustest ning malmist seinad ei lase terasel ülekuumenemisel sulada.
Esitatakse pika põlemisega kaminahju konstruktsioon, millel on kütmiseks veering,:
- põlemiskamber, kuhu asetatakse küttepuud;
- tuhakamber restiga ja selle all kokkutõmmatav tuhapann;
- pürolüüsigaasi järelpõletuskamber;
- vahesein tulekolde ja järelpõlemiskambri vahel;
- korstna toru, kus toru tühjeneb;
- uks malmist või kuumakindlast klaasist.
Tooteid iseloomustab kõrge efektiivsus, kompaktsus ja vastupidavus. Keraamiline vooder annab esteetilise välimuse ja täiendava soojusmahtuvuse.
Kassettkaminad

Kassettkamin on välimuselt sarnane klassikalise puuküttega kaminaga. Küttekolde, karkassi ja seinte valmistamiseks kasutatakse terast või malmi. Kütteseadmed võivad töötada automaatselt, ilma pideva kasutaja kontrollita. Korpuse viimistlus täidab kaitsefunktsiooni ja on valmistatud keraamilistest plaatidest, looduslikust või tehiskivist.
Toodet eristab standardsetest modifikatsioonidest:
- tõhusus – tüüpiline suletud mudelitele;
- mitmekülgsus - kõrge efektiivsuse tõttu kasutatakse neid peamise ja abisoojuse allikana;
- väikese ristlõikega kontaktkorstna ja lühendatud toru olemasolu põlemisproduktide kiireks eemaldamiseks;
- kassetielemendid – kassett tagab kiire soojenemise ja on varustatud sisseehitatud õhuavade süsteemiga;
- matt- või läbipaistvast klaasist tulekindlad uksed.
Intensiivseks kuumutamiseks võite paigaldada jaotusmetallist ketta.
Sõltuvalt võimsusest, seadmete mõõtmetest ja köetava ala ruutmeetritest saate valida järgmised kassetid:
- paigaldamiseks avatud kaminasse: need pakuvad minimaalset soojust, kuid sobivad, kui teil on väike 1-2-toaline suvila;
- paigaldamiseks suletud kaminasse: need erinevad võimsuse poolest ja soojendavad tõhusalt suurt maja.
Kassettpliit jahtub kiiresti, kuid soojuse maksimaalseks säästmiseks on paigaldatud telliskiviportaal.
Nurga tüüpi vesikaminad

Küttesõlmede nurgaversioon on kolmnurga või viisnurga kujuga. Esimesel juhul pole ahju ja teisel on toiduvalmistamiseks suur pliidiplaat.
Kamina tagaseinad asetsevad üksteise suhtes täisnurga all. Konstruktsioonid sobivad väikestesse ruumidesse, on ergonoomilised ja kompaktsed. Ahjumassiivi alumine osa on varustatud puidukuivati või sissetõmmatava puhuriga. Külgede lähedal võivad olla dekoratiivsed tellistest kapid. Kamina põlemiskamber on poolringi-, ruudu-, ristküliku- või trapetsikujuline.
Nurga tüüpi konstruktsioonidel on mitmeid eeliseid:
- kompaktsus võrreldes seina- või saareseadmetega;
- väikese ruumi ratsionaalne kasutamine;
- isepaigaldamise lihtsus;
- krohviga kaunistamise võimalus, keraamilised plaadid, valmisportaal.
Nurkade modifikatsioonid tekitavad maksimaalse soojuse minimaalsete mõõtmetega.
Veepliitide-kaminate plussid ja miinused

Kaminasüdamikel ja vedela soojusvahetiga ahjudel on mitmeid eeliseid:
- sõltumatus elektrist ja gaasist - ladustamiseks kasutatakse küttepuid;
- kompaktsed mõõtmed, mis sobivad ruumi igasse piirkonda;
- Saab kasutada kütmiseks ja toiduvalmistamiseks;
- mugava temperatuuri hoidmine suures majas;
- soojuse ühtlane jaotus ja tarnimine kaugematesse ruumidesse;
- kõrge efektiivsus minimaalsete kütusekuludega;
- vooluringi ja paagiga ahjude käitamine kuuma veevarustuseks;
- ohutus - voodriga korpuse välisosad ei kuumene;
- ühendus radiaatorküttesüsteemiga.
Veesüsteemiga ahjukaminul on mitmeid puudusi:
- telliste ja metallide mudelite minimaalne automatiseerimine;
- tulekolde ladumisele ja tule süütamisele kulunud aeg;
- tahma, tahma ja suitsu teke okaspuude, kirsi, paju küttepuude kasutamisel;
- terase modifikatsioonide kiire jahutamine;
- Kõik üksused ei sobi kivisöe põletamiseks.
Ahju saab kütta sarve-, haava-, kase-, pöögi- või spetsiaalsest briketist valmistatud palkidega.
Valikuvõimalused, ise paigaldamine ja kasutamine

Kontuuri ja boileriga süsteemiga varustatud kamin sobib maja kõikide ruumide vee soojendamiseks. See on süsteemiga ühendatud küttekoldes olevate torude kaudu. Seadmete ostmisel peate arvestama:
- Ohutu paigaldamise ja sidega ühendamise omadused.
- Võimsus. 100 m2 üldpinnaga maja jaoks sobivad mudelid alates 7 kW ruumides, mille pindala on alla 80 m2, väikese võimsusega seadmed. Tasub arvestada, et 10 m2 kodu kütmiseks kulub 1 kW võimsust.
- Materjal. Kuigi terasdetailid on odavad, on need korrosioonile vastuvõtlikumad. Malmist koguvad soojust kaua, kuid nende hind on kallim.
- Pika põlemisrežiimi olemasolu.Sellised seadmed on energiasäästlikud ja nende efektiivsus on 75-90%.
- Täielik komplekt. Tavaline vesikamin on varustatud tuhapanni, torude, korstna, pliidiplaadi ja kuumakindla uksega.
- Süsteemi antifriisi lisamise võimalus. Glütseriini lahus, etüleenglükool ja propüleenglükool ei külmu -30 kraadi juures.
Kõik tehnilised parameetrid on tootja dokumentatsioonis.
DIY paigaldus

Kaminaseadmete kompaktsus ja väike kaal välistab vajaduse ehitada massiivne vundament. Piisab põrandakatte tegemisest lehtmaterjalist, plaatide või muu tulekindla katte paigaldamisest. Isepaigaldamine toimub järgmiselt:
- Originaalpakendi eemaldamine ja struktuuri terviklikkuse kontrollimine.
- Valmis katte juhtimine taseme järgi.
- Toru viimine suitsu väljalaskekanaliga samale tasemele.
- Gaasi väljalaskeelementide kokkupanek.
- Restide, tuhapanni, resti ja klapi paigaldus.
- Kamina ja korstna ühenduskoha, samuti vuukide ja õmbluste tihendamine.
Üheahelaline torustik on isoleeritud.
Tegevusreeglid

Hüdraulilise soojusvahetiga kaminate kasutamisel peate järgima mitmeid nõudeid:
- Suitsu väljalaskekanalite puhastamine tahmast 2 korda aastas.
- Regulaarne tuha eemaldamine tulekoldest ja tuhapannist, kui see koguneb.
- Vee ärajuhtimine torudest, kui süsteemi suvel ei kasutata.
- Radiaatorite, paakide, pumpade, liitmike ja filtrite eelkontroll enne kütmise alustamist.
- Klaasukse puhastamine spetsiaalsete vahenditega.
- Soojusvahetite täitmine veega, et vältida läbipõlemist.
- Sooja vee varustamine köetava ahju režiimis.
- Möödaviiguga tsirkulatsioonipumba kasutamine süsteemi tõhususe parandamiseks.
Talvel on lubatud kommunikatsioonidesse valada antifriisi.
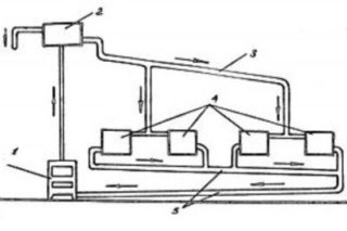
Küttesüsteemiga ühendamise omadused
Veekamin on süsteemiga ühendatud, kui vooluringis on jahutusvedelik, võttes arvesse selle ringlust.
Loomulik ringluse tüüp

Veeahelaga seadmed ühendatakse järgmiselt:
- Soojusvaheti taha kiirenduskollektori ehitus jahutusvedeliku kõrgeimasse punkti tõstmiseks.
- Paisupaagi paigaldamine ülaossa.
- Soojatrassi ehitamine vähemalt 32 mm läbimõõduga torudest.
- Normaalseks ringluseks hoidke kalle 5 cm 1 m kohta.
Süsteemi ühendamiseks radiaatoritega kasutage 16-20 mm läbimõõduga torusid.
Sunniviisilise tsirkulatsiooni tüüp
Sunnitud veeringlus pakub mitmeid nüansse:
- paisupaak asetatakse maantee mis tahes lõigule;
- patareisid saab ühendada mis tahes viisil;
- Trassi kallet ei ole vaja jälgida;
- Kondensaadi tekkimise vältimiseks tulekoldes võite kasutada automaatset seadet.
Asetage paisupaak pumba taha tagasivoolutorule.
Ülevaade populaarsetest veeahelaga kaminahjudest

Kaasaegsed tootjad toodavad vesikaminaid väikeste majade ja suurte ruumide kütmiseks. Tarbijad eelistavad mitut võimalust:
- Koza/K6, Kratki. Reguleeritava leegi intensiivsusega kompaktne kütteseade väikesele majale. Võimsus 8 kW, kamin malmist.
- Baieri Kolm klaasi, EcoFireplace. Originaalse disainiga kolmest küljest glasuuritud terasest tulekambriga pliit. Korsten on ühendatud ülevalt ja tagant. Sekundaarse põlemisrežiimiga küttekeha suudab ruumi kütta umbes 6 tundi.
- Professor Butakov, Termofor.Saadaval terasest uksega, malmist aknaga ja varjestatud konvektsioontorusüsteemiga. Sobib lao, angaari varustamiseks 1000 ruutmeetrile. Kasutegur on 80% tänu õhu suunamisele järelpõlemiskambrisse spetsiaalsete jugade abil.
- Head punast, MBS. Stiilne kamin 45 m2 suurusele tuppa. Valmistatud terasest ja malmist raami meetodil. Põletik on raamitud šamotiga, temperatuuride vahe tasandatakse vermikuliidihakkuriga. Tõhusus – 82%.
- PC-01, Vesuvius. Pliidiplaadiga mudel kütab 150 ruutmeetri suurust maja. Küttekolde köetakse elektriventilaatoriga, soojuseraldus pikaajalisel põlemisel on 5 tundi. Põlemise intensiivsust reguleerib puhuri klapp.
- Laava, Guca. 89 m2 küttepinnaga malmseade on varustatud kahe regulaatoriga - tulekoldes ja tuhapannil. Korsten on ühendatud tagant või küljelt.
Kõik kaminahjud on ohutud ja varustatud kasutusjuhendiga.
Vesisoojusvahetiga kaminahi sobib igas suuruses hoonesse. Seade on tõhus, seda on lihtne paigaldada ja kasutada. Selle valimisel peate võtma arvesse võimsuse parameetreid, disaini eripära ja kuumutatud kvadratuuri.








